《公安部关于修改<机动车驾驶证申领和使用规定>的决定》已经2009年11月21日公安部部长办公会议通过,现予发布,自2010年4月1日起施行。
为进一步方便残疾人驾驶汽车出行,完善机动车驾驶证管理制度,公安部决定对《机动车驾驶证申领和使用规定》作如下修改:
一、在第八条中的三轮汽车后增加“残疾人专用小型自动挡载客汽车”。
二、将第十一条第一项第1目修改为:“申请小型汽车、小型自动挡汽车、残疾人专用小型自动挡载客汽车、轻便摩托车准驾车型的,在18周岁以上,70周岁以下。”
将第二项第4目修改为:“听力:两耳分别距音叉50厘米能辨别声源方向。有听力障碍但佩戴助听设备能够达到以上条件的,可以申请小型汽车、小型自动挡汽车准驾车型的机动车驾驶证。”第5目修改为:“上肢:双手拇指健全,每只手其他手指必须有三指健全,肢体和手指运动功能正常。但手指末节残缺或者右手拇指缺失的,可以申请小型汽车、小型自动挡汽车准驾车型的机动车驾驶证。”第6目修改为:“下肢:双下肢健全且运动功能正常,不等长度不得大于5厘米。但左下肢缺失或者丧失运动功能的,可以申请小型自动挡汽车准驾车型的机动车驾驶证。右下肢、双下肢缺失或者丧失运动功能但能够自主坐立的,可以申请残疾人专用小型自动挡载客汽车准驾车型的机动车驾驶证。”
三、将第十三条修改为:“初次申领机动车驾驶证的,可以申请准驾车型为城市公交车、大型货车、小型汽车、小型自动挡汽车、低速载货汽车、三轮汽车、残疾人专用小型自动挡载客汽车、普通三轮摩托车、普通二轮摩托车、轻便摩托车、轮式自行机械车、无轨电车、有轨电车的机动车驾驶证。
在暂住地初次申领机动车驾驶证的,可以申请准驾车型为小型汽车、小型自动挡汽车、低速载货汽车、三轮汽车、残疾人专用小型自动挡载客汽车、普通三轮摩托车、普通二轮摩托车、轻便摩托车的机动车驾驶证。”
四、将第十四条第二款修改为:“在暂住地可以申请增加的准驾车型为小型汽车、小型自动挡汽车、低速载货汽车、三轮汽车、普通三轮摩托车、普通二轮摩托车、轻便摩托车。”
五、将第十八条第二项修改为:“县级或者部队团级以上医疗机构出具的有关身体条件的证明。属于申请驾驶残疾人专用小型自动挡载客汽车的,应当提交经省级卫生主管部门指定的专门医疗机构出具的有关身体条件的证明。”
六、将第二十六条第一项修改为:“报考小型汽车、小型自动挡汽车、低速载货汽车、三轮汽车、残疾人专用小型自动挡载客汽车、轮式自行机械车、无轨电车、有轨电车准驾车型的,在取得驾驶技能准考证明满十日后预约考试。”
七、将第二十七条第一项修改为:“报考低速载货汽车、三轮汽车、轮式自行机械车、无轨电车、有轨电车准驾车型的,在取得驾驶技能准考证明满二十日后预约考试。”
将第二项修改为:“报考小型汽车、小型自动挡汽车、残疾人专用小型自动挡载客汽车准驾车型的,在取得驾驶技能准考证明满三十日后预约考试。”
八、将第三十五条第三项修改为:“县级或者部队团级以上医疗机构出具的有关身体条件的证明。属于申请驾驶残疾人专用小型自动挡载客汽车的,应当提交经省级卫生主管部门指定的专门医疗机构出具的有关身体条件的证明。”
九、在第三十八条后增加一条,作为第三十九条:“机动车驾驶人身体条件发生变化,不符合所持机动车驾驶证准驾车型的条件,但符合准予驾驶的其他准驾车型条件的,应当在三十日内到机动车驾驶证核发地车辆管理所申请降低准驾车型。申请时应当填写《机动车驾驶证申请表》,并提交机动车驾驶人的身份证明、机动车驾驶证、县级或者部队团级以上医疗机构出具的有关身体条件的证明。
机动车驾驶人身体条件发生变化,不符合第十一条第二项规定或者具有第十二条规定情形之一,不适合驾驶机动车的,应当在三十日内到机动车驾驶证核发地车辆管理所申请注销。申请时应当填写《机动车驾驶证申请表》,并提交机动车驾驶人的身份证明和机动车驾驶证。
机动车驾驶人身体条件不适合驾驶机动车的,不得驾驶机动车。”
十、将第三十九条改为第四十条,并修改为:“车辆管理所对符合第三十五条至第三十八条、第三十九条第一款规定的,应当在三日内换发机动车驾驶证。对符合第三十九条第二款规定的,应当在三日内注销机动车驾驶证。其中,对符合第三十六条至第三十九条规定的,还应当收回原机动车驾驶证。”
十一、将第四十条改为第四十一条,并增加三款,作为第三款、第四款、第五款:
“机动车驾驶人补领机动车驾驶证后,原机动车驾驶证作废,不得继续使用。
机动车驾驶证被依法扣押、扣留或者暂扣期间,机动车驾驶人不得申请补发。
机动车驾驶人违反本条第三款规定继续使用原机动车驾驶证的,由公安机关交通管理部门处二十元以上二百元以下罚款,并收回原机动车驾驶证。机动车驾驶人违反本条第四款规定,采用隐瞒、欺骗手段补领机动车驾驶证的,由公安机关交通管理部门处二百元以上五百元以下罚款,并收回补领的机动车驾驶证。”
十二、将第四十一条改为第五十一条,并修改为:“机动车驾驶人可以委托代理人代理机动车驾驶证的换证、补证、提交身体条件证明、延期办理和注销业务。代理人申请机动车驾驶证业务时,应当提交代理人的身份证明和机动车驾驶人与代理人共同签字的《机动车驾驶证申请表》或者身体条件证明。”
十三、将第四十二条第一款第六项修改为:“年龄在60周岁以上,在一个记分周期结束后一年内未提交身体条件证明的;或者持有大型客车、牵引车、城市公交车、中型客车、大型货车、无轨电车、有轨电车准驾车型,在两个记分周期结束后一年内未提交身体条件证明的;或者持有残疾人专用小型自动挡载客汽车准驾车型,在三个记分周期结束后一年内未提交身体条件证明的。”
在第四十二条中增加一款,作为第三款:“因第五项、第六项情形之一被注销机动车驾驶证未超过两年的,机动车驾驶人考试科目一合格后,可以恢复驾驶资格。”
十四、在第四十七条后增加一条,作为第四十八条:“车辆管理所换发机动车驾驶证时,应当对机动车驾驶证进行审验。机动车驾驶人有下列情形之一的,不予换发机动车驾驶证:(一)道路交通安全违法行为未处理完毕的;(二)身体条件不符合驾驶许可条件的;(三)在一个记分周期内记分达到12分未接受道路交通安全法律、法规和相关知识教育、考试的。”
十五、将第四十八条改为第四十九条,并修改为:“年龄在60周岁以上的机动车驾驶人,应当每年进行一次身体检查,在记分周期结束后十五日内,提交县级或者部队团级以上医疗机构出具的有关身体条件的证明。
持有准驾车型为大型客车、牵引车、城市公交车、中型客车、大型货车、无轨电车、有轨电车的机动车驾驶人,应当每两年进行一次身体检查,在记分周期结束后十五日内,提交县级或者部队团级以上医疗机构出具的有关身体条件的证明。
持有准驾车型为残疾人专用小型自动挡载客汽车的机动车驾驶人,应当每三年进行一次身体检查,在记分周期结束后十五日内,提交经省级卫生主管部门指定的专门医疗机构出具的有关身体条件的证明。”
十六、在第四十八条后增加两条,作为第五十条和第五十二条。
1、“第五十条 机动车驾驶人因服兵役、出国(境)等原因,无法在规定时间内办理驾驶证期满换证、提交身体条件证明的,可以向机动车驾驶证核发地车辆管理所申请延期办理。申请时应当填写《机动车驾驶证申请表》,并提交机动车驾驶人的身份证明、机动车驾驶证和延期事由证明。
延期期限最长不超过三年。延期期间机动车驾驶人不得驾驶机动车。”
2、“第五十二条 持有准驾车型为残疾人专用小型自动挡载客汽车的机动车驾驶人驾驶机动车时,应当按规定在车身设置残疾人机动车专用标志(附件7)。
有听力障碍的机动车驾驶人驾驶机动车时,应当佩戴助听设备。”
十七、将第五十二条改为第五十六条,并修改为:“本规定下列用语的含义:
(一)身份证明是指:
1、居民的身份证明,是《居民身份证》或者《临时居民身份证》。在暂住地居住的内地居民的身份证明,是《居民身份证》或者《临时居民身份证》,以及公安机关核发的居住、暂住证明;
2、现役军人(含武警)的身份证明,是《居民身份证》或者《临时居民身份证》。在未办理《居民身份证》前,是军队有关部门核发的《军官证》、《文职干部证》、《士兵证》、《离休证》、《退休证》等有效军人身份证件,以及其所在的团级以上单位出具的本人住所证明;
3、香港、澳门特别行政区居民的身份证明,是其入境时所持有的《港澳居民来往内地通行证》或者《港澳同胞回乡证》、香港、澳门特别行政区《居民身份证》和公安机关核发的居住、暂住证明;
4、台湾地区居民的身份证明,是其所持有的有效期三个月以上的公安机关核发的《台湾居民来往大陆通行证》或者外交部核发的《中华人民共和国旅行证》和公安机关核发的居住、暂住证明;
5、华侨的身份证明,是《中华人民共和国护照》和公安机关核发的居住、暂住证明;
6、外国人的身份证明,是其入境时所持有的护照或者其他旅行证件、居(停)留期为三个月以上的有效签证或者居留许可,以及公安机关出具的住宿登记证明;
7、外国驻华使馆、领馆人员、国际组织驻华代表机构人员的身份证明,是外交部核发的有效身份证件。
(二)住址是指:
1、居民的住址,是《居民身份证》或者《临时居民身份证》记载的住址;
2、现役军人(含武警)的住址,是《居民身份证》或者《临时居民身份证》记载的住址。在未办理《居民身份证》前,是其所在的团级以上单位出具的本人住所证明记载的住址;
3、境外人员的住址,是公安机关核发的居住、暂住或者住宿登记证明记载的地址;
4、外国驻华使馆、领馆人员及国际组织驻华代表机构人员的住址,是外交部核发的有效身份证件记载的地址。”
十八、在附件1第九栏“三轮汽车”后增加一栏,作为第十栏:“准驾车型为残疾人专用小型自动挡载客汽车,代号为C5,准驾的车辆为残疾人专用小型、微型自动挡载客汽车,只允许右下肢或者双下肢残疾人驾驶。”
十九、在附件2中的小型自动挡汽车后增加“残疾人专用小型自动挡载客汽车”。
二十、对附件3《道路交通安全违法行为记分分值》进行修改。
二十一、在附件4第一条中增加一项,作为第十项:“残疾人专用小型自动挡载客汽车:加装符合相关标准的肢体残疾人驾驶汽车的操纵辅助装置,且车长不小于4米的小型自动挡载客汽车。其中,申请人为右下肢残疾的,考试车应当加装制动和加速迁延控制手柄或者制动和加速迁延控制踏板;申请人为双下肢残疾的,考试车应当加装方向盘控制辅助手柄、制动和加速迁延控制手柄、转向信号迁延开关,或者驻车制动辅助手柄。”
在附件4第二条中的小型自动挡汽车后增加“残疾人专用小型自动挡载客汽车”。
二十二、在附件5中的小型自动挡汽车后增加“残疾人专用小型自动挡载客汽车”。
二十三、增加一个附件,作为附件7:“残疾人机动车专用标志(图)。”
二十四、本决定自2010年4月1日起施行。
《机动车驾驶证申领和使用规定》根据本决定作相应修改,重新公布。
(2006年12月20日中华人民共和国公安部令第91号发布,根据2009年12月7日《公安部关于修改<机动车驾驶证申领和使用规定>的决定》修正)
第一章 总 则
第二章 机动车驾驶证的申领
第一节 机动车驾驶证
第二节 申请条件
第三节 申请、考试和发证
第三章 换证、补证和注销
第四章 记分和审验
第五章 附 则
第一条 根据《中华人民共和国道路交通安全法》及其实施条例、《中华人民共和国行政许可法》,制定本规定。
第二条 本规定由公安机关交通管理部门负责实施。
直辖市公安机关交通管理部门车辆管理所、设区的市或者相当于同级的公安机关交通管理部门车辆管理所负责办理本行政辖区内机动车驾驶证业务。县级公安机关交通管理部门办理机动车驾驶证业务的范围由省级公安机关交通管理部门确定。
第三条 车辆管理所办理机动车驾驶证业务,应当遵循公开、公正、便民的原则。
第四条 车辆管理所办理机动车驾驶证业务,应当依法受理申请人的申请,审核申请人提交的资料,对符合条件的,按照规定程序和期限办理机动车驾驶证。
申领机动车驾驶证的人,应当如实向车辆管理所提交规定的资料,如实申告规定的事项。
第五条 车辆管理所应当使用机动车驾驶证计算机管理系统核发、打印机动车驾驶证,不使用计算机管理系统核发、打印的机动车驾驶证无效。
机动车驾驶证计算机管理系统的数据库标准和软件全国统一,能够完整、准确地记录和存储申请受理、科目考试、机动车驾驶证核发等全过程和经办人员信息,并能够实时将有关信息传送到全国公安交通管理信息系统。
第六条 省级公安机关交通管理部门应当在互联网上建立主页,发布信息,便于群众查阅办理机动车驾驶证的有关规定,下载、使用有关表格。
第七条 机动车驾驶证记载和签注以下内容:
(一)机动车驾驶人信息:姓名、性别、出生日期、国籍、住址、身份证明号码(机动车驾驶证号码)、照片;
(二)车辆管理所签注内容:初次领证日期、准驾车型代号、有效期起始日期、有效期限、核发机关印章、档案编号。
第八条 机动车驾驶人准予驾驶的车型顺序依次分为:大型客车、牵引车、城市公交车、中型客车、大型货车、小型汽车、小型自动挡汽车、低速载货汽车、三轮汽车、残疾人专用小型自动挡载客汽车、普通三轮摩托车、普通二轮摩托车、轻便摩托车、轮式自行机械车、无轨电车和有轨电车(附件1)。
第九条 机动车驾驶证有效期分为六年、十年和长期。
第十条 年龄在60周岁以上的,不得驾驶大型客车、牵引车、城市公交车、中型客车、大型货车、无轨电车和有轨电车;年龄在70周岁以上的,不得驾驶低速载货汽车、三轮汽车、普通三轮摩托车、普通二轮摩托车和轮式自行机械车。
第十一条 申请机动车驾驶证的人,应当符合下列规定:
(一)年龄条件:
1、申请小型汽车、小型自动挡汽车、残疾人专用小型自动挡载客汽车、轻便摩托车准驾车型的,在18周岁以上,70周岁以下;
2、申请低速载货汽车、三轮汽车、普通三轮摩托车、普通二轮摩托车或者轮式自行机械车准驾车型的,在18周岁以上,60周岁以下;
3、申请城市公交车、中型客车、大型货车、无轨电车或者有轨电车准驾车型的,在21周岁以上,50周岁以下;
4、申请牵引车准驾车型的,在24周岁以上,50周岁以下;
5、申请大型客车准驾车型的,在26周岁以上,50周岁以下。
(二)身体条件:
1、身高:申请大型客车、牵引车、城市公交车、大型货车、无轨电车准驾车型的,身高为155厘米以上。申请中型客车准驾车型的,身高为150厘米以上;
2、视力:申请大型客车、牵引车、城市公交车、中型客车、大型货车、无轨电车或者有轨电车准驾车型的,两眼裸视力或者矫正视力达到对数视力表5.0以上。申请其他准驾车型的,两眼裸视力或者矫正视力达到对数视力表4.9以上;
3、辨色力:无红绿色盲;
4、听力:两耳分别距音叉50厘米能辨别声源方向。有听力障碍但佩戴助听设备能够达到以上条件的,可以申请小型汽车、小型自动挡汽车准驾车型的机动车驾驶证;
5、上肢:双手拇指健全,每只手其他手指必须有三指健全,肢体和手指运动功能正常。但手指末节残缺或者右手拇指缺失的,可以申请小型汽车、小型自动挡汽车准驾车型的机动车驾驶证;
6、下肢:双下肢健全且运动功能正常,不等长度不得大于5厘米。但左下肢缺失或者丧失运动功能的,可以申请小型自动挡汽车准驾车型的机动车驾驶证。右下肢、双下肢缺失或者丧失运动功能但能够自主坐立的,可以申请残疾人专用小型自动挡载客汽车准驾车型的机动车驾驶证;
7、躯干、颈部:无运动功能障碍。
第十二条 有下列情形之一的,不得申请机动车驾驶证:
(一)有器质性心脏病、癫痫病、美尼尔氏症、眩晕症、癔病、震颤麻痹、精神病、痴呆以及影响肢体活动的神经系统疾病等妨碍安全驾驶疾病的;
(二)吸食、注射毒品、长期服用依赖性精神药品成瘾尚未戒除的;
(三)吊销机动车驾驶证未满二年的;
(四)造成交通事故后逃逸被吊销机动车驾驶证的;
(五)驾驶许可依法被撤销未满三年的;
(六)法律、行政法规规定的其他情形。
第十三条 初次申领机动车驾驶证的,可以申请准驾车型为城市公交车、大型货车、小型汽车、小型自动挡汽车、低速载货汽车、三轮汽车、残疾人专用小型自动挡载客汽车、普通三轮摩托车、普通二轮摩托车、轻便摩托车、轮式自行机械车、无轨电车、有轨电车的机动车驾驶证。
在暂住地初次申领机动车驾驶证的,可以申请准驾车型为小型汽车、小型自动挡汽车、低速载货汽车、三轮汽车、残疾人专用小型自动挡载客汽车、普通三轮摩托车、普通二轮摩托车、轻便摩托车的机动车驾驶证。
第十四条 已持有机动车驾驶证,申请增加准驾车型的,应当在本记分周期和申请前最近一个记分周期内没有满分记录。申请增加中型客车、牵引车、大型客车准驾车型的,还应当符合下列规定:
(一)申请增加中型客车准驾车型的,已取得驾驶小型汽车、小型自动挡汽车、低速载货汽车或者三轮汽车准驾车型资格三年以上,并在申请前最近连续两个记分周期内没有满分记录;或者取得驾驶城市公交车、大型货车准驾车型资格一年以上,并在申请前最近一个记分周期内没有满分记录。
(二)申请增加牵引车准驾车型的,已取得驾驶中型客车或者大型货车准驾车型资格三年以上,并在申请前最近连续两个记分周期内没有满分记录;或者取得驾驶大型客车准驾车型资格一年以上,并在申请前最近一个记分周期内没有满分记录。
(三)申请增加大型客车准驾车型的,已取得驾驶中型客车或者大型货车准驾车型资格五年以上,并在申请前最近连续三个记分周期内没有满分记录;或者取得驾驶牵引车准驾车型资格二年以上,并在申请前最近一个记分周期内没有满分记录。
在暂住地可以申请增加的准驾车型为小型汽车、小型自动挡汽车、低速载货汽车、三轮汽车、普通三轮摩托车、普通二轮摩托车、轻便摩托车。
第十五条 有下列情形之一的,不得申请增加大型客车、牵引车、中型客车准驾车型:
(一)发生交通事故造成人员死亡,承担全部责任或者主要责任的;
(二)醉酒后驾驶机动车的;
(三)在本记分周期和申请前最近连续三个记分周期内有饮酒后驾驶机动车行为的;
(四)在本记分周期和申请前最近连续三个记分周期内有驾驶机动车行驶超过规定时速百分之五十以上行为,机动车驾驶证未被吊销的。
第十六条 持有军队、武装警察部队机动车驾驶证,或者持有境外机动车驾驶证,符合本规定的申请条件,可以申请对应准驾车型的机动车驾驶证。
第十七条 申领机动车驾驶证的人,按照下列规定向车辆管理所提出申请:
(一)在户籍地居住的,应当在户籍地提出申请;
(二)在暂住地居住的,可以在暂住地提出申请;
(三)现役军人(含武警),应当在居住地提出申请;
(四)境外人员,应当在居留地提出申请;
(五)申请增加准驾车型的,应当在所持机动车驾驶证核发地提出申请。
第十八条 初次申请机动车驾驶证,应当填写《机动车驾驶证申请表》,并提交以下证明:
(一)申请人的身份证明;
(二)县级或者部队团级以上医疗机构出具的有关身体条件的证明。属于申请驾驶残疾人专用小型自动挡载客汽车的,应当提交经省级卫生主管部门指定的专门医疗机构出具的有关身体条件的证明。
第十九条 申请增加准驾车型的,除填写《机动车驾驶证申请表》,提交第十八条规定的证明外,还应当提交所持机动车驾驶证。
第二十条 持军队、武装警察部队机动车驾驶证的人申请机动车驾驶证,应当填写《机动车驾驶证申请表》,并提交以下证明、凭证:
(一)申请人的身份证明,属于复员、转业、退伍的人员,还应当提交军队、武装警察部队核发的复员、转业、退伍证明;
(二)县级或者部队团级以上医疗机构出具的有关身体条件的证明;
(三)军队、武装警察部队机动车驾驶证。
第二十一条 持境外机动车驾驶证的人申请机动车驾驶证,应当填写《机动车驾驶证申请表》,并提交以下证明、凭证:
(一)申请人的身份证明;
(二)县级以上医疗机构出具的有关身体条件的证明;
(三)所持机动车驾驶证。属于非中文表述的,还应当出具中文翻译文本。
第二十二条 持境外机动车驾驶证的外国驻华使馆、领馆人员及国际组织驻华代表机构人员申请机动车驾驶证,应当填写《机动车驾驶证申请表》,并提交以下证明、凭证:
(一)申请人的身份证明;
(二)所持机动车驾驶证。属于非中文表述的,还应当出具中文翻译文本。
第二十三条 车辆管理所对符合机动车驾驶证申请条件的,应当受理,并在申请人预约考试三十日内安排考试。
第二十四条 考试科目分为道路交通安全法律、法规和相关知识考试科目(以下简称“科目一”)、场地驾驶技能考试科目(以下简称“科目二”)和道路驾驶技能考试科目(以下简称“科目三”)。考试顺序按照科目一、科目二、科目三依次进行,前一科目考试合格后,方准参加后一科目的考试。
初次申请机动车驾驶证或者申请增加准驾车型的,科目一考试合格后,车辆管理所应当在三日内核发驾驶技能准考证明。驾驶技能准考证明的有效期为二年。申请人应当在有效期内完成科目二和科目三考试。
第二十五条 考试科目内容及合格标准全国统一(附件2)。
科目一考试题库的结构和基本题型由公安部制定,省级公安机关交通管理部门结合本地实际情况建立本省(自治区、直辖市)的考试题库。
科目二考试项目包括:桩考、坡道定点停车和起步、侧方停车、通过单边桥、曲线行驶、直角转弯、限速通过限宽门、通过连续障碍、百米加减挡、起伏路行驶。
科目三考试基本项目包括:上车准备、起步、直线行驶、变更车道、通过路口、靠边停车、通过人行横道线、通过学校区域、通过公共汽车站、会车、超车、掉头、夜间行驶。
科目二、科目三考试采取必考项目与选考项目相结合的方式进行,选考项目根据不同车型随机选取。
第二十六条 初次申请机动车驾驶证或者申请增加准驾车型的,申请人预约考试科目二,应当符合下列规定:
(一)报考小型汽车、小型自动挡汽车、低速载货汽车、三轮汽车、残疾人专用小型自动挡载客汽车、轮式自行机械车、无轨电车、有轨电车准驾车型的,在取得驾驶技能准考证明满十日后预约考试;
(二)报考大型客车、牵引车、城市公交车、中型客车、大型货车准驾车型的,在取得驾驶技能准考证明满二十日后预约考试。
第二十七条 初次申请机动车驾驶证或者申请增加准驾车型的,申请人预约考试科目三,应当符合下列规定:
(一)报考低速载货汽车、三轮汽车、轮式自行机械车、无轨电车、有轨电车准驾车型的,在取得驾驶技能准考证明满二十日后预约考试;
(二)报考小型汽车、小型自动挡汽车、残疾人专用小型自动挡载客汽车准驾车型的,在取得驾驶技能准考证明满三十日后预约考试;
(三)报考中型客车、大型货车准驾车型的,在取得驾驶技能准考证明满四十日后预约考试;
(四)报考大型客车、牵引车、城市公交车准驾车型的,在取得驾驶技能准考证明满六十日后预约考试。
第二十八条 初次申请机动车驾驶证或者申请增加准驾车型的,申请人考试科目一、科目二和科目三合格后,车辆管理所核发机动车驾驶证。申请增加准驾车型的,应当收回原机动车驾驶证。
第二十九条 持军队、武装警察部队机动车驾驶证的人申请大型客车、牵引车、中型客车、大型货车准驾车型机动车驾驶证的,应当考试科目一和科目三;申请其他准驾车型机动车驾驶证的,直接核发机动车驾驶证。属于复员、转业、退伍的,应当同时收回其所持军队、武装警察部队机动车驾驶证。
第三十条 持境外机动车驾驶证申请机动车驾驶证的,应当考试科目一。申请准驾车型为大型客车、牵引车、中型客车、大型货车机动车驾驶证的,还应当考试科目三。
外国驻华使馆、领馆人员及国际组织驻华代表机构人员申请机动车驾驶证的,应当按照外交对等原则核发机动车驾驶证。
第三十一条 每个科目考试一次,可以补考一次。补考仍不合格的,本科目考试终止。申请人可以重新申请考试,但科目二、科目三的考试日期应当在二十日后预约。
在驾驶技能准考证明有效期内,已考试合格的科目成绩有效。
第三十二条 各科目考试结果应当当场公布,并出示成绩单。考试不合格的,应当说明不合格的原因。
第三十三条 每个科目的考试成绩单应当有申请人和考试员的签名。未签名的不得核发机动车驾驶证。
从事考试工作的人员,应当持有省级公安机关交通管理部门颁发的考试员证书。
第三十四条 申请人在考试过程中有舞弊行为的,取消本次考试资格,已经通过考试的其他科目成绩无效。
第三章 换证、补证和注销
第三十五条 机动车驾驶人应当于机动车驾驶证有效期满前九十日内,向机动车驾驶证核发地车辆管理所申请换证。申请时应当填写《机动车驾驶证申请表》,并提交以下证明、凭证:
(一)机动车驾驶人的身份证明;
(二)机动车驾驶证;
(三)县级或者部队团级以上医疗机构出具的有关身体条件的证明。属于申请驾驶残疾人专用小型自动挡载客汽车的,应当提交经省级卫生主管部门指定的专门医疗机构出具的有关身体条件的证明。
第三十六条 机动车驾驶人户籍迁出原车辆管理所管辖区的,应当向迁入地车辆管理所申请换证;机动车驾驶人在核发地车辆管理所管辖区以外居住的,可以向居住地车辆管理所申请换证。
申请时应当填写《机动车驾驶证申请表》,并提交机动车驾驶人的身份证明和机动车驾驶证。
第三十七条 年龄达到60周岁,持有准驾车型为大型客车、牵引车、城市公交车、中型客车、大型货车的机动车驾驶人,应当到机动车驾驶证核发地车辆管理所换领准驾车型为小型汽车或者小型自动挡汽车的机动车驾驶证;年龄达到70周岁,持有准驾车型为普通三轮摩托车、普通二轮摩托车的机动车驾驶人,应当到机动车驾驶证核发地车辆管理所换领准驾车型为轻便摩托车的机动车驾驶证。
申请时应当填写《机动车驾驶证申请表》,并提交第三十五条规定的证明、凭证。
机动车驾驶人自愿降低准驾车型的,应当填写《机动车驾驶证申请表》,并提交第三十五条第一、二项规定的证明、凭证。
第三十八条 具有下列情形之一的,机动车驾驶人应当在三十日内到机动车驾驶证核发地车辆管理所申请换证:
(一)在车辆管理所管辖区域内,机动车驾驶证记载的机动车驾驶人信息发生变化的;
(二)机动车驾驶证损毁无法辨认的。
申请时应当填写《机动车驾驶证申请表》,并提交机动车驾驶人的身份证明和机动车驾驶证。
第三十九条 机动车驾驶人身体条件发生变化,不符合所持机动车驾驶证准驾车型的条件,但符合准予驾驶的其他准驾车型条件的,应当在三十日内到机动车驾驶证核发地车辆管理所申请降低准驾车型。申请时应当填写《机动车驾驶证申请表》,并提交机动车驾驶人的身份证明、机动车驾驶证、县级或者部队团级以上医疗机构出具的有关身体条件的证明。
机动车驾驶人身体条件发生变化,不符合第十一条第二项规定或者具有第十二条规定情形之一,不适合驾驶机动车的,应当在三十日内到机动车驾驶证核发地车辆管理所申请注销。申请时应当填写《机动车驾驶证申请表》,并提交机动车驾驶人的身份证明和机动车驾驶证。
机动车驾驶人身体条件不适合驾驶机动车的,不得驾驶机动车。
第四十条 车辆管理所对符合第三十五条至第三十八条、第三十九条第一款规定的,应当在三日内换发机动车驾驶证。对符合第三十九条第二款规定的,应当在三日内注销机动车驾驶证。其中,对符合第三十六条至第三十九条规定的,还应当收回原机动车驾驶证。
第四十一条 机动车驾驶证遗失的,机动车驾驶人应当向机动车驾驶证核发地车辆管理所申请补发。申请时应当填写《机动车驾驶证申请表》,并提交以下证明、凭证:
(一)机动车驾驶人的身份证明;
(二)机动车驾驶证遗失的书面声明。
符合规定的,车辆管理所应当在三日内补发机动车驾驶证。
机动车驾驶人补领机动车驾驶证后,原机动车驾驶证作废,不得继续使用。
机动车驾驶证被依法扣押、扣留或者暂扣期间,机动车驾驶人不得申请补发。
机动车驾驶人违反本条第三款规定继续使用原机动车驾驶证的,由公安机关交通管理部门处二十元以上二百元以下罚款,并收回原机动车驾驶证。机动车驾驶人违反本条第四款规定,采用隐瞒、欺骗手段补领机动车驾驶证的,由公安机关交通管理部门处二百元以上五百元以下罚款,并收回补领的机动车驾驶证。
第四十二条 机动车驾驶人具有下列情形之一的,车辆管理所应当注销其机动车驾驶证:
(一)死亡的;
(二)身体条件不适合驾驶机动车的;
(三)提出注销申请的;
(四)丧失民事行为能力,监护人提出注销申请的;
(五)超过机动车驾驶证有效期一年以上未换证的;
(六)年龄在60周岁以上,在一个记分周期结束后一年内未提交身体条件证明的;或者持有大型客车、牵引车、城市公交车、中型客车、大型货车、无轨电车、有轨电车准驾车型,在两个记分周期结束后一年内未提交身体条件证明的;或者持有残疾人专用小型自动挡载客汽车准驾车型,在三个记分周期结束后一年内未提交身体条件证明的;
(七)年龄在60周岁以上,所持机动车驾驶证只具有无轨电车或者有轨电车准驾车型,或者年龄在70周岁以上,所持机动车驾驶证只具有低速载货汽车、三轮汽车、轮式自行机械车准驾车型的;
(八)机动车驾驶证依法被吊销或者驾驶许可依法被撤销的。
有第五项至第八项情形之一,未收回机动车驾驶证的,应当公告机动车驾驶证作废。
因第五项、第六项情形之一被注销机动车驾驶证未超过两年的,机动车驾驶人考试科目一合格后,可以恢复驾驶资格。
第四十三条 道路交通安全违法行为累积记分周期(即记分周期)为12个月,满分为12分,从机动车驾驶证初次领取之日起计算。
依据道路交通安全违法行为的严重程度,一次记分的分值为:12分、6分、3分、2分、1分五种(附件3)。
第四十四条 对机动车驾驶人的道路交通安全违法行为,处罚与记分同时执行。
机动车驾驶人一次有两个以上违法行为记分的,应当分别计算,累加分值。
第四十五条 机动车驾驶人对道路交通安全违法行为处罚不服,申请行政复议或者提起行政诉讼后,经依法裁决变更或者撤销原处罚决定的,相应记分分值予以变更或者撤销。
第四十六条 公安机关交通管理部门应当向社会公布机动车驾驶人违法行为记分查询方式,提供查询便利。
第四十七条 机动车驾驶人在一个记分周期内累积记分达到12分的,应当在十五日内到机动车驾驶证核发地或者违法行为地公安机关交通管理部门接受为期七日的道路交通安全法律、法规和相关知识的教育。机动车驾驶人接受教育后,车辆管理所应当在二十日内对其进行科目一考试。
机动车驾驶人在一个记分周期内两次以上达到12分的,车辆管理所还应当在科目一考试合格后十日内对其进行科目三考试。
第四十八条 车辆管理所换发机动车驾驶证时,应当对机动车驾驶证进行审验。机动车驾驶人有下列情形之一的,不予换发机动车驾驶证:
(一)道路交通安全违法行为未处理完毕的;
(二)身体条件不符合驾驶许可条件的;
(三)在一个记分周期内记分达到12分未接受道路交通安全法律、法规和相关知识教育、考试的。
第四十九条 年龄在60周岁以上的机动车驾驶人,应当每年进行一次身体检查,在记分周期结束后十五日内,提交县级或者部队团级以上医疗机构出具的有关身体条件的证明。
持有准驾车型为大型客车、牵引车、城市公交车、中型客车、大型货车、无轨电车、有轨电车的机动车驾驶人,应当每两年进行一次身体检查,在记分周期结束后十五日内,提交县级或者部队团级以上医疗机构出具的有关身体条件的证明。
持有准驾车型为残疾人专用小型自动挡载客汽车的机动车驾驶人,应当每三年进行一次身体检查,在记分周期结束后十五日内,提交经省级卫生主管部门指定的专门医疗机构出具的有关身体条件的证明。
第五十条 机动车驾驶人因服兵役、出国(境)等原因,无法在规定时间内办理驾驶证期满换证、提交身体条件证明的,可以向机动车驾驶证核发地车辆管理所申请延期办理。申请时应当填写《机动车驾驶证申请表》,并提交机动车驾驶人的身份证明、机动车驾驶证和延期事由证明。
延期期限最长不超过三年。延期期间机动车驾驶人不得驾驶机动车。
第五十一条 机动车驾驶人可以委托代理人代理机动车驾驶证的换证、补证、提交身体条件证明、延期办理和注销业务。代理人申请机动车驾驶证业务时,应当提交代理人的身份证明和机动车驾驶人与代理人共同签字的《机动车驾驶证申请表》或者身体条件证明。
第五十二条 持有准驾车型为残疾人专用小型自动挡载客汽车的机动车驾驶人驾驶机动车时,应当按规定在车身设置残疾人机动车专用标志(附件7)。
有听力障碍的机动车驾驶人驾驶机动车时,应当佩戴助听设备。
第五十三条 国家之间对机动车驾驶证有互相认可协议的,按照协议办理。
国家之间签订有关协定涉及机动车驾驶证的,按照协定执行。
第五十四条 机动车驾驶证的式样、规格按照中华人民共和国公共安全行业标准《中华人民共和国机动车驾驶证件》执行。驾驶技能准考证明的式样由公安部规定。
第五十五条 拖拉机驾驶证的申领和使用另行规定。拖拉机驾驶证式样、规格应当符合中华人民共和国公共安全行业标准《中华人民共和国机动车驾驶证件》的规定。
第五十六条 本规定下列用语的含义:
(一)身份证明是指:
1、居民的身份证明,是《居民身份证》或者《临时居民身份证》。在暂住地居住的内地居民的身份证明,是《居民身份证》或者《临时居民身份证》,以及公安机关核发的居住、暂住证明;
2、现役军人(含武警)的身份证明,是《居民身份证》或者《临时居民身份证》。在未办理《居民身份证》前,是军队有关部门核发的《军官证》、《文职干部证》、《士兵证》、《离休证》、《退休证》等有效军人身份证件,以及其所在的团级以上单位出具的本人住所证明;
3、香港、澳门特别行政区居民的身份证明,是其入境时所持有的《港澳居民来往内地通行证》或者《港澳同胞回乡证》、香港、澳门特别行政区《居民身份证》和公安机关核发的居住、暂住证明;
4、台湾地区居民的身份证明,是其所持有的有效期三个月以上的公安机关核发的《台湾居民来往大陆通行证》或者外交部核发的《中华人民共和国旅行证》和公安机关核发的居住、暂住证明;
5、华侨的身份证明,是《中华人民共和国护照》和公安机关核发的居住、暂住证明;
6、外国人的身份证明,是其入境时所持有的护照或者其他旅行证件、居(停)留期为三个月以上的有效签证或者居留许可,以及公安机关出具的住宿登记证明;
7、外国驻华使馆、领馆人员、国际组织驻华代表机构人员的身份证明,是外交部核发的有效身份证件。
(二)住址是指:
1、居民的住址,是《居民身份证》或者《临时居民身份证》记载的住址;
2、现役军人(含武警)的住址,是《居民身份证》或者《临时居民身份证》记载的住址。在未办理《居民身份证》前,是其所在的团级以上单位出具的本人住所证明记载的住址;
3、境外人员的住址,是公安机关核发的居住、暂住或者住宿登记证明记载的地址;
4、外国驻华使馆、领馆人员及国际组织驻华代表机构人员的住址,是外交部核发的有效身份证件记载的地址。
第五十七条 本规定所称“以上”、“以下”均包含本数在内。
本规定所称“三日”、“五日”、“七日”、“十日”、“十五日”,是指工作日,不包括节假日。
第五十八条 本规定自2010年4月1日起施行。2006年12月20日公布的《机动车驾驶证申领和使用规定》(公安部令第91号)同时废止。本规定生效后,公安部以前制定的规定与本规定不一致的,以本规定为准。
附件:1.准驾车型及代号
2.考试内容及合格标准
3.道路交通安全违法行为记分分值
4.考试车辆和考试场地要求
5.科目二考试项目和操作要求
6.科目二、科目三考试评判标准
7. 残疾人机动车专用标志(图)
附件1
| 准驾车型 | 代号 | 准驾的车辆 | 准予驾驶的其他 准驾车型 |
| 大型客车 | A1 | 大型载客汽车 | A3、B1、B2、C1、C2、C3、C4、M |
| 牵引车 | A2 | 重型、中型全挂、半挂汽车列车 | B1、B2、C1、C2、C3、C4、M |
| 城市公交车 | A3 | 核载10人以上的城市公共汽车 | C1、C2、C3、C4 |
| 中型客车 | B1 | 中型载客汽车(含核载10人以上、19人以下的城市公共汽车) | C1、C2、C3、C4、M |
| 大型货车 | B2 | 重型、中型载货汽车;大、重、中型专项作业车 | |
| 小型汽车 | C1 | 小型、微型载客汽车以及轻型、微型载货汽车;轻、小、微型专项作业车 | C2、C3、C4 |
| 小型自动挡汽车 | C2 | 小型、微型自动挡载客汽车以及轻型、微型自动挡载货汽车 | |
| 低速载货汽车 | C3 | 低速载货汽车(原四轮农用运输车) | C4 |
| 三轮汽车 | C4 | 三轮汽车(原三轮农用运输车) | |
| 残疾人专用小型自动挡载客汽车 | C5 | 残疾人专用小型、微型自动挡载客汽车(只允许右下肢或者双下肢残疾人驾驶) | |
| 普通三轮摩托车 | D | 发动机排量大于50ml或者最大设计车速大于50km/h的三轮摩托车 | E、F |
| 普通二轮摩托车 | E | 发动机排量大于50ml或者最大设计车速大于50km/h的二轮摩托车 | F |
| 轻便摩托车 | F | 发动机排量小于等于50ml,最大设计车速小于等于50km/h的摩托车 | |
| 轮式自行机械车 | M | 轮式自行机械车 | |
| 无轨电车 | N | 无轨电车 | |
| 有轨电车 | P | 有轨电车 |
附件2
一、科目一考试内容及合格标准
(一)考试内容
1、道路交通安全法律、法规和规章;
2、交通信号及其含义;
3、安全行车、文明驾驶知识;
4、高速公路、山区道路、桥梁、隧道、夜间、恶劣气象和复杂道路条件下的安全驾驶知识;
5、出现爆胎、转向失控、制动失灵等紧急情况时的临危处置知识;
6、机动车总体构造、主要安全装置常识、日常检查和维护基本知识;
7、发生交通事故后的自救、急救等基本知识,以及常见危险物品知识。
(二)合格标准
满分为100分,成绩达到90分的为合格。
二、科目二考试内容及合格标准
(一)考试内容
1、在规定场地内驾驶机动车完成考试项目的情况;
2、对机动车驾驶技能掌握的情况;
3、对机动车空间位置判断的能力。
(二)考试项目
基本考试项目:桩考、坡道定点停车和起步、侧方停车、通过单边桥、曲线行驶、直角转弯、限速通过限宽门、通过连续障碍、百米加减挡、起伏路行驶。
大型客车、牵引车、城市公交车、中型客车、大型货车准驾车型考试项目不得少于6项。大型客车、城市公交车必考项目:桩考、坡道定点停车和起步、直角转弯、通过单边桥、通过连续障碍;牵引车准驾车型必考项目:桩考、坡道定点停车和起步、曲线行驶、直角转弯、限速通过限宽门;中型客车、大型货车准驾车型必考项目:桩考、坡道定点停车和起步、侧方停车、通过单边桥、通过连续障碍。其他考试项目随机选取。
小型汽车、小型自动挡汽车、残疾人专用小型自动挡载客汽车、低速载货汽车、普通三轮摩托车、普通二轮摩托车准驾车型考试项目不得少于4项。小型汽车、低速载货汽车必考项目:桩考、坡道定点停车和起步、侧方停车;小型自动挡汽车、残疾人专用小型自动挡载客汽车必考项目:桩考、侧方停车;普通三轮摩托车、普通二轮摩托车准驾车型必考项目:桩考、坡道定点停车和起步、通过单边桥。其他考试项目随机选取。
科目二考试应当先进行桩考。桩考未出现扣分情形的,补考或者重新预约考试时可以不再进行桩考。
其他准驾车型的考试项目,由省级公安机关交通管理部门确定。
(三)合格标准
满分为100分,设定不合格、减20分、减10分、减5分的项目评判标准。符合下列规定的,考试合格:
1、报考大型客车、牵引车、城市公交车、中型客车、大型货车准驾车型,成绩达到90分的;
2、报考其他准驾车型成绩达到80分的。
三、科目三考试内容及合格标准
(一)考试内容
1、在道路上驾驶机动车完成考试项目的情况;
2、遵守交通法律、法规的情况;
3、综合控制机动车的能力;
4、正确使用灯光、喇叭、安全带等装置的情况;
5、正确观察、判断道路交通情况的能力;
6、安全驾驶行为、文明驾驶意识。
(二)考试项目
基本考试项目:上车准备、起步、直线行驶、变更车道、通过路口、靠边停车、通过人行横道线、通过学校区域、通过公共汽车站、会车、超车、掉头、夜间行驶。
大型客车、牵引车、城市公交车、中型客车、大型货车、小型汽车、小型自动挡汽车、残疾人专用小型自动挡载客汽车、低速载货汽车准驾车型考试项目不得少于10项,必考项目:上车准备、起步、直线行驶、变更车道、通过路口、靠边停车。其中,大型客车、牵引车、城市公交车、中型客车、大型货车准驾车型还应当进行夜间或者低能见度情况下考试;其他汽车准驾车型还应当抽取不少于20%进行夜间或者低能见度状况下的考试。
省级公安机关交通管理部门可以根据各地实际,增加汽车准驾车型的考试项目,确定其他准驾车型的考试项目。
(三)合格标准
满分为100分,设定不合格、减20分、减10分、减5分的项目评判标准。符合下列规定的,考试合格:
1、报考大型客车、牵引车、城市公交车、中型客车、大型货车准驾车型,成绩达到90分的;
2、报考其他准驾车型成绩达到80分的。
附件3
一、机动车驾驶人有下列违法行为之一,一次记12分:
(一)驾驶与准驾车型不符的机动车的;
(二)饮酒后或者醉酒后驾驶机动车的;
(三)驾驶公路客运车辆载人超过核定人数20%以上的;
(四)造成交通事故后逃逸,尚不构成犯罪的;
(五)使用伪造、变造机动车号牌、行驶证、驾驶证或者使用其他机动车号牌、行驶证的;
(六)在高速公路上倒车、逆行、穿越中央分隔带掉头的。
二、机动车驾驶人有下列违法行为之一,一次记6分:
(一)机动车驾驶证被暂扣期间驾驶机动车的;
(二)公路客运车辆载人超过核定人数未达20%的;
(三)机动车行驶超过规定时速50%以上的;
(四)在高速公路行车道上停车的;
(五)机动车在高速公路或者城市快速路上遇交通拥堵,占用应急车道行驶的;
(六)驾驶机动车载运爆炸物品、易燃易爆化学物品以及剧毒、放射性等危险物品,未按指定的时间、路线、速度行驶或者未悬挂警示标志并采取必要的安全措施的;
(七)连续驾驶公路客运车辆或者危险物品运输车辆超过4小时未停车休息或者停车休息时间少于20分钟的;
(八)上道路行驶的机动车未悬挂机动车号牌的,或者故意遮挡、污损、不按规定安装机动车号牌的;
(九)以隐瞒、欺骗手段补领机动车驾驶证的。
三、机动车驾驶人有下列违法行为之一,一次记3分:
(一)货车载物超过核定载质量30%以上或者违反规定载客的;
(二)驾驶公路客运车辆以外的载客汽车载人超过核定人数20%以上的;
(三)违反道路交通信号灯通行的;
(四)机动车行驶超过规定时速未达50%的;
(五)在高速公路上驾驶机动车行驶低于规定最低时速的;
(六)驾驶禁止驶入高速公路的机动车驶入高速公路的;
(七)违反禁令标志、禁止标线指示的;
(八)不按规定超车、让行的,或者逆向行驶的;
(九)驾驶机动车违反规定牵引挂车的;
(十)在道路上车辆发生故障、事故停车后,不按规定使用灯光和设置警告标志的;
(十一)上道路行驶的机动车未按规定定期进行安全技术检验的。
四、机动车驾驶人有下列违法行为之一,一次记2分:
(一)驾驶公路客运车辆以外的载客汽车载人超过核定人数未达20%的;
(二)货车载物超过核定载质量未达30%的;
(三)行经交叉路口不按规定行车或者停车的;
(四)行经人行横道,不按规定减速、停车、避让行人的;
(五)有拨打、接听手持电话等妨碍安全驾驶的行为的;
(六)驾驶和乘坐二轮摩托车,不戴安全头盔的;
(七)机动车在高速公路或者城市快速路上行驶时,机动车驾驶人未按规定系安全带的;
(八)遇前方机动车停车排队或者缓慢行驶时,借道超车或者占用对面车道、穿插等候车辆的。
五、机动车驾驶人有下列违法行为之一,一次记1分:
(一)不按规定使用灯光的;
(二)不按规定会车的;
(三)机动车载货长度、宽度、高度超过规定的;
(四)上道路行驶的机动车未放置检验合格标志、保险标志,未随车携带行驶证、机动车驾驶证的。
附件4
一、考试车辆要求
(一)大型客车:车长不小于9米的大型普通载客汽车;
(二)牵引车:车长不小于12米的半挂汽车列车;
(三)城市公交车:车长不小于9米的大型普通载客汽车;
(四)中型客车:车长不小于5.8米的中型普通载客汽车;
(五)大型货车:车长不小于9米,轴距不小于5米的重型普通载货汽车;
(六)小型汽车:车长不小于5米的轻型普通载货汽车,或者车长不小于4米的小型普通载客汽车,或者车长不小于4米的轿车;
(七)小型自动挡汽车:车长不小于5米的轻型自动挡普通载货汽车,或者车长不小于4米的小型自动挡普通载客汽车,或者车长不小于4米的自动挡轿车;
(八)普通三轮摩托车:至少有四个速度挡位的普通正三轮摩托车或者普通侧三轮摩托车;
(九)普通二轮摩托车:至少有四个速度挡位的普通二轮摩托车。
(十)残疾人专用小型自动挡载客汽车:加装符合相关标准的肢体残疾人驾驶汽车的操纵辅助装置,且车长不小于4米的小型自动挡载客汽车。其中,申请人为右下肢残疾的,考试车应当加装制动和加速迁延控制手柄或者制动和加速迁延控制踏板;申请人为双下肢残疾的,考试车应当加装方向盘控制辅助手柄、制动和加速迁延控制手柄、转向信号迁延开关,或者驻车制动辅助手柄。
考试车应当设置明显的考试用车标志,除三轮汽车和摩托车外的考试车应当安装供考试员使用的副制动踏板和后视镜装置。
其他考试用车的条件,由省级公安机关交通管理部门确定。
二、考试场地要求
(一)科目一考试场所
1、使用计算机系统随机出题、考试,计算机考试系统与机动车驾驶证管理系统联网;
2、各考位之间设置有效的间隔设施;
3、考试区域实行封闭式管理;
4、设置有待考人员等候休息场所,配备必要的便民服务和交通安全宣传设施。
(二)科目二考试场地
1、有满足场内道路驾驶考试所需的设施及相应的标志、标线;
2、桩考场内地面平坦,坡度小于1%,附着系数大于0.40;
3、大型客车、城市公交车、中型客车、大型货车、小型汽车、小型自动挡汽车、残疾人专用小型自动挡载客汽车、低速载货汽车的桩考应当使用计算机自动监控系统。
(三)科目三考试道路
大型客车、牵引车、城市公交车、中型客车、大型货车、小型汽车、小型自动挡汽车、残疾人专用小型自动挡载客汽车、低速载货汽车准驾车型的考试道路应当符合下列条件:
1、用于通行社会车辆的混合交通道路,汽车单向流量每小时不少于60辆;
2、考试路段起点和终点应当设置明显的标志,每公里设置里程标志;
3、应当具有平面交叉路口、交通信号灯以及人行横道、注意行人、注意儿童、减速让行、停车让行等标志、标线。
其他准驾车型的科目三考试可以在场地道路上进行。
省级公安机关交通管理部门可以根据本地实际,确定山区、涵洞、隧道等特点的科目三考试道路条件。
附件5
一、桩考
(一)大型客车、城市公交车、中型客车、大型货车、小型汽车、小型自动挡汽车、残疾人专用小型自动挡载客汽车、低速载货汽车准驾车型
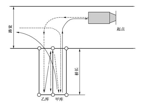
目的:考核机动车驾驶人操控车辆完成侧方移位、倒车入库和正确判断车身空间位置的能力。
1、图形设计

图例:
○ 桩杆; ── 边线; 前进线; ┄→倒车线
尺寸:
(1)桩长:二倍车长;前驱动车,加50厘米;
(2)桩宽:大型客车、城市公交车、大型货车、中型客车为车宽加70厘米;小型汽车、小型自动挡汽车、残疾人专用小型自动挡载客汽车、低速载货汽车为车宽加60厘米;
(3)路宽:车长的1.5倍;
(4)起点:距甲库外边线1.5倍车长。
2、操作要求
从起点倒入乙库停正,再经过二进二退移位到甲库停正,前进穿过乙库至路上,倒入甲库停正,前进返回起点。
(二)牵引车准驾车型
目的:考核机动车驾驶人操控牵引车前进、倒车和正确判断车轮行驶轨迹以及在有限区域正确停靠车辆的能力。
1、图形设计

图例:
○ 桩杆; ── 边线; 前进线; ┄→倒车线
尺寸:
(1)甲、乙库长为整车长加1米,库宽为整车宽的1.5倍;
(2)甲库四角设桩杆,乙库在靠近甲库的一角设桩杆;甲、乙库之间相距2倍车长,分设在路中线的两侧。
2、操作要求
从甲库向前驶入乙库停正,然后倒入甲库内停正。
(三)三轮汽车准驾车型
目的:考核机动车驾驶人操控三轮汽车前进、倒车和正确判断车轮行驶轨迹的能力。
1、图形设计

图例:
桩杆; ── 边线; 前进线; ┄→倒车线
尺寸:
桩间距为车长加40厘米;桩与边线的距离为车宽加30厘米。
2、操作要求
从起点绕桩前进驶出,再倒车绕桩反向驶回。
(四)普通三轮摩托车、普通二轮摩托车、轻便摩托车准驾车型
目的:考核机动车驾驶人操控三轮摩托车、二轮摩托车、轻便摩托车曲线行驶及转弯的能力。
1、图形设计

图例:
桩位; ── 边线; 前进线
尺寸:
(1)桩与边线的距离为车宽加30厘米;
(2)桩间距:普通和轻便二轮摩托车为车长加50厘米;正三轮摩托车为车长加40厘米;侧三轮摩托车为车长加80厘米;
(3)终止线距最后一根桩杆3倍车长。
2、操作要求
从起点处起步按箭头所示方向绕桩行驶至终点处停车。
二、坡道定点停车和起步
目的:考核机动车驾驶人在坡道上驾驶车辆的技能,准确判断车辆的位置,正确使用制动、挡位和离合器,以适应在上坡路段停车与起步的需要。
1、图形设计

定点停车桩杆距坡底大于1.5倍车长,全坡长大于30米。
2、操作要求
机动车驾驶人应通过视觉和感觉及时判断坡道的坡度大小、长短及路宽等道路情况,采取正确的操作方法,控制车辆平稳停车和起步。做到转向正确,换挡迅速,操纵加速踏板、驻车制动器和离合器踏板的动作准确协调。
三、侧方停车
目的:考核机动车驾驶人将车辆正确停入道路右侧车位(库)的技能。
1、图形设计

图例:
桩杆; 前进线;┄→倒车线
尺寸:
(1)车位(库)长:大型客车为1.5倍车长减1米,小型车辆为1.5倍车长加1米,其他车辆为1.5倍车长;
(2)车位(库)宽:车宽加80厘米;
(3)车道宽:1.5倍车宽加80厘米。
2、操作要求
机动车驾驶人驾驶车辆在不碰、擦库位桩杆,车轮不轧碰车道边线、库位边线的情况下,通过一进一退的方式,将车辆停入右侧车位(库)中。
四、通过单边桥
目的:考核机动车驾驶人准确运用转向、正确判断车轮直线行驶轨迹、操纵车辆不平行运行的能力。
1、图形设计

尺寸:
(1)桥宽:20厘米;
(2)桥高:小于等于车辆最小离地间隙,摩托车桥高为5厘米,小型汽车桥高为8厘米,其他汽车桥高为12厘米;
(3)甲乙桥横向间距:车辆轮距加1米;
(4)甲乙桥纵向间距:牵引车挂车为2倍轴距,小型车辆为3倍轴距,其他车辆为2.5倍轴距;
(5)桥面长度:1.5倍车辆轴距;
(6)坡度:小于等于7%。
2、操作要求
机动车驾驶人按规定的行驶方向,正确操纵转向,将汽车的左、右侧前后车轮依次平稳、顺畅地驶过甲、乙两桥;三轮汽车、三轮摩托车用左、右后轮依次平稳、顺畅地驶过甲、乙两桥。
二轮摩托车、轻便摩托车从桥上平稳、顺畅通过。
五、曲线行驶
目的:考核机动车驾驶人操纵转向、控制车辆曲线行驶的能力。
1、图形设计

尺寸:
(1)路宽:大型车辆为4米,小型车辆为3.5米,摩托车为2.5米;
(2)半径:大型车辆为12米,小型车辆为7.5米,摩托车为5米;
(3)弧长:八分之三个圆周。
2、操作要求
机动车驾驶人驾驶车辆从弯道的一端前进驶入,减速换挡,以低挡低速从另一端驶出。行驶中不得轧弯道边缘线,转向自如。
六、直角转弯
目的:考核机动车驾驶人在急弯路段驾驶车辆时,正确操纵转向、准确判断车辆内、外轮差的能力。
1、图形设计

尺寸:
(1)路长:大于等于1.5倍车长;
(2)路宽:小型车辆为轴距加1米,半挂牵引车为牵引车轴距加3米,其他车辆为轴距加50厘米。
2、操作要求
机动车驾驶人驾驶车辆按规定的线路低速行驶,由左向右或者由右向左直角转弯,一次通过,中途不得停车。
七、限速通过限宽门
目的:考核机动车驾驶人在一定车速下对车身位置的正确判断能力。
1、图形设计

尺寸:
(1)路宽:大于等于7米;
(2)门宽:车宽加60厘米。
设置:
共设置三个限宽门,三门之间各相距3倍车长,1、3两门设置于正对位置,2门与1、3门偏移一个门宽位置。
2、操作要求
机动车驾驶人驾驶车辆以不低于20公里/小时的速度,从三门之间穿越,不得碰擦悬杆。
八、通过连续障碍
目的:考核机动车驾驶人驾驶车辆通过连续障碍时,对车轮行驶轨迹和内、外轮差的判断能力。
1、图形设计

尺寸:
(1)路宽:7米;
(2)圆饼直径:70厘米,B、C、D、E圆饼中心点偏离路中心线1米;
(3)饼高:小于车辆最小离地间隙;小型车辆6厘米,其他车辆10厘米;
(4)圆饼间距:指相邻两块圆饼中心点投影在路中心线上之间的距离;大型客车、城市公交车、大型货车所考核的圆饼间距为2倍车辆最前轮轴至最后轮轴距,牵引车圆饼间距为1.5倍轴距(轴距是牵引车前轴至挂车最后轴的轴距),其他汽车圆饼间距为2.5倍的车辆轴距。
圆饼数量:牵引车只设A、B、C三个圆饼,其他车辆设置六个圆饼。
2、操作要求
除小型车辆用一挡外,其他车辆用二挡(含)以上挡位,将车骑于圆饼之上通过,车轮不得碰、擦、轧圆饼,并且不得超、轧两侧路边缘线。
九、百米加减挡
目的:考核机动车驾驶人操纵车辆挡位的熟练程度。
1、图形设计

2、操作要求
机动车驾驶人驾驶车辆由起点线起步,在百米内完成从最低挡逐级加至最高挡,再从最高挡逐级减至二挡。
十、起伏路驾驶
目的:考核机动车驾驶人驾驶车辆平顺通过起伏路面的能力。
1、图形设计

尺寸:
(1)顶宽、底宽:车轮直径加60厘米;
(2)深度、高度:大型客车、小型车辆为6厘米,其他车辆为12厘米。
设置:
(1)凹路面的α角小于车辆离去角,凸路面的β角小于车辆接近角;
(2)凹路面的深度和凸路面的高度要小于车辆的最小离地间隙。
2、操作要求
机动车驾驶人驾驶车辆行驶至起伏路面前20米内制动减速,使用低速挡或者半联动平稳安全地通过起伏路段。
附件6
一、综合评判标准
(一)考试时出现下列情形之一的,考试不合格
1、不按规定使用安全带或者戴安全头盔;
2、不按交通信号灯、标志、标线或者民警指挥信号行驶;
3、车辆行驶中骑轧车道中心实线或者车道边缘实线;
4、车速超过限速规定;
5、起步时车辆后溜距离大于30厘米;
6、车辆行驶方向控制差;
7、驾驶汽车双手同时离开转向盘;
8、单手控制转向盘时,不能有效、平稳控制行驶方向;
9、换挡时低头看挡或者连续两次换挡不进;
10、制动、加速踏板使用错误;
11、行驶中空挡滑行;
12、视线离开行驶方向超过2秒;
13、行驶中不能保持安全距离和安全车速;
14、争道抢行,妨碍其他车辆正常行驶;
15、因观察、判断或者操作不当出现危险情况;
16、不按考试员指令驾驶;
17、违反交通安全法律、法规,考试员认为影响安全驾驶的;
18、驾驶摩托车时手离开转向把;
19、二轮摩托车在行驶中左右摇摆或者脚触地;
20、摩托车制动时不同时使用前、后制动器;
21、不能熟练掌握牵引车与半挂车安全连接方法。
(二)考试时出现下列情形之一的,扣20分
1、起步、转向、变更车道、超车、停车前不使用转向灯;
2、将车辆停在人行横道、网状线内等禁止停车区域;
3、起步时车辆后溜,但后溜距离小于30厘米;
4、长时间骑轧车道分界线行驶;
5、转弯时,转、回方向过早、过晚,或者转向角度过大、过小;
6、不主动避让行人、非机动车;
7、对可能出现危险的情形未采取减速、鸣喇叭等安全措施。
(三)考试时出现下列情形之一的,扣10分
1、起步、转向、变更车道、超车、停车前,开转向灯少于3秒即转向;
2、驾驶姿势不正确;
3、操纵转向盘手法不合理;
4、选择挡位不当,造成车辆低挡高转速行驶或者车辆抖动;
5、起步挂错挡,不能及时纠正;
6、换挡时发生齿轮撞击;
7、遇情况时不会合理使用离合器半联动控制车速;
8、因操作不当造成发动机熄火一次;
9、不能根据交通情况合理使用喇叭;
10、不能根据交通情况合理选择行驶车道或者行驶速度;
11、制动不平顺;
12、通过积水路面遇行人、非机动车时,有不减速等不文明驾驶行为。
二、科目二考试项目分类评判标准
(一)桩考
1、不按规定路线、顺序行驶,不合格;
2、碰擦桩杆,不合格;
3、车身出线,不合格;
4、移库不入,不合格。
(二)坡道定点停车和起步
1、车辆停止后,汽车前保险杠或者摩托车前轴未定于桩杆线上,且前后超出50厘米,不合格;
2、车辆停止后,汽车前保险杠或者摩托车前轴未定于桩杆线上,且前后不超出50厘米,扣20分;
3、车辆停止后,车身距离路边缘线30厘米以上,扣20分。
(三)侧方停车
1、车辆在入库停止后,车身出线,不合格;
2、碰擦桩杆,不合格;
3、行驶中轮胎触轧车道边线,扣10分。
(四)通过单边桥
1、其中有一车轮未上桥,每次扣20分;
2、已骑上桥面,在行驶中出现一个车轮掉下桥面,每次扣10分。
(五)曲线行驶
1、车轮驶出边缘线,不合格;
2、车轮轧路边缘线,每次扣20分。
(六)直角转弯
1、车轮触轧突出点或者驶出边缘线,不合格;
2、车轮轧道路边缘线,每次扣20分;
3、借助倒车完成,每次扣10分。
(七)限速通过限宽门
1、时速低于20公里/小时通过,不合格;
2、不按规定路线、顺序行驶,不合格;
3、每碰擦一次限宽门悬杆,扣20分。
(八)通过连续障碍
1、不按规定路线行驶的,不合格;
2、车轮驶出边缘线,不合格;
3、车轮轧路边缘线,每次扣20分;
4、轧一个圆饼,扣20分;
5、碰、擦一个圆饼,扣10分。
(九)百米加减挡
1、在百米内未完成规定加、减挡的,不合格;
2、越级换挡,扣10分。
(十)起伏路驾驶
1、通过起伏路面时,车速控制不当,车辆严重跳跃,不合格;
2、通过起伏路面前不减速,扣10分;
3、通过起伏路面前过早减速,扣5分。
三、科目三考试项目分类评判标准
(一)上车准备
1、不绕车一周检查车辆外观及安全状况,不合格;
2、打开车门前不观察后方交通情况,不合格。
(二)起步
1、制动气压不足起步,不合格;
2、车门未关闭起步,不合格;
3、起步前,未通过后视镜并向左方侧头,观察左、后方交通情况,不合格;
4、启动发动机时,变速器操纵杆未置于空挡(或者P挡),扣10分;
5、发动机启动后,不及时松开启动开关,扣10分;
6、不松驻车制动器起步,扣10分;
7、道路交通情况复杂时起步不能合理使用喇叭,扣10分;
8、起步时车辆发生闯动,扣10分;
9、起步时,加速踏板控制不当,致使发动机转速过高,扣5分;
10、启动发动机前,不调整驾驶座椅、后视镜、检查仪表,扣5分。
(三)直线行驶
1、方向控制不稳,不能保持车辆直线运动状态,不合格;
2、遇前车制动时不采取减速措施,不合格;
3、超过20秒不通过后视镜观察后方交通情况,扣10分;
4、不了解车辆行驶速度,扣10分;
5、未及时发现路面障碍物,未及时采取减速措施,扣10分。
(四)变更车道
1、变更车道前,不通过内、外后视镜观察后方道路交通情况,不合格;
2、变更车道时,判断车辆安全距离不合理,妨碍其他车辆正常行驶,不合格;
3、连续变更两条以上车道,不合格。
(五)通过路口
1、通过路口前未减速慢行,不合格;
2、直行通过路口不观察左、右方交通情况,不合格;
3、转弯通过路口时,未观察侧前方交通情况或未通过内、外后视镜观察侧、后方交通情况,不合格;
4、遇有路口交通阻塞时进入路口,将车辆停在路口内等候,不合格;
5、不按规定避让行人和优先通行的车辆,不合格;
6、左转通过路口时,未靠路口中心点左侧转弯,不合格。
(六)通过人行横道线、学校区域和公共汽车站
1、不观察左、右方交通情况,不合格;
2、不按规定减速慢行,不合格;
3、遇行人通过人行横道不停车让行,不合格。
(七)会车
1、在没有中心隔离设施或者中心线的道路上会车时,不减速靠右行驶,并与其他车辆、行人或者非机动车未保持安全距离,不合格;
2、会车困难时不让行,不合格;
3、横向安全间距判断差,紧急转向避让相对方向来车,不合格。
(八)超车
1、超车前不通过内、外后视镜观察后方和左侧交通情况,不合格;
2、超车时机选择不合理,影响其他车辆正常行驶,不合格;
3、超车时未与被超越车辆保持安全距离,不合格;
4、超车后急转向驶回本车道,妨碍被超车辆正常行驶,不合格;
5、从右侧超车,不合格;
6、当后车发出超车信号时,具备让车条件不减速靠右让行,扣10分。
(九)靠边停车
1、停车前,不通过内、外后视镜观察后方和右侧交通情况,不合格;
2、停车后,车身超过道路右侧边缘线或者人行道边缘,不合格;
3、停车后,在车内开门前不侧头观察侧后方和左侧交通情况,不合格;
4、停车后,车身距离道路右侧边缘线或者人行道边缘大于30厘米,扣20分;
5、停车后,未拉紧驻车制动器,扣20分;
6、拉紧驻车制动器前放松行车制动踏板,扣10分;
7、下车后不关车门,扣10分;
8、下车前不将发动机熄火,扣5分;
9、夜间在路边临时停车不关闭前照灯或不开启警示灯,扣5分。
(十)掉头
1、不能正确观察交通情况选择掉头时机,不合格;
2、掉头地点选择不当,不合格;
3、掉头时,妨碍正常行驶的其他车辆和行人通行,不合格。
(十一)夜间行驶
1、不能正确开启灯光,不合格;
2、同方向近距离跟车行驶时,使用远光灯,不合格;
3、通过急弯、坡路、拱桥、人行横道或者没有交通信号灯控制的路口时,不交替使用远、近光灯示意,不合格;
4、会车时不按规定使用灯光,不合格;
5、在路口转弯时,使用远光灯,不合格;
6、超车时未变换使用远、近光灯提醒被超越车辆,不合格;
7、对低能见度道路情况判断差,不合格;
8、在有路灯、照明良好的道路上行驶时,使用远光灯,不合格。
附件7

式样

方格尺寸图
颜色值:
C=100,M=80,Y=5,K=0
使用规定 :
1.残疾人驾驶机动车时,应当在车身前部和后部分别设置专用标志。
2.专用标志应当设置在车身距离地面0.4m以上1.2m以下的位置。